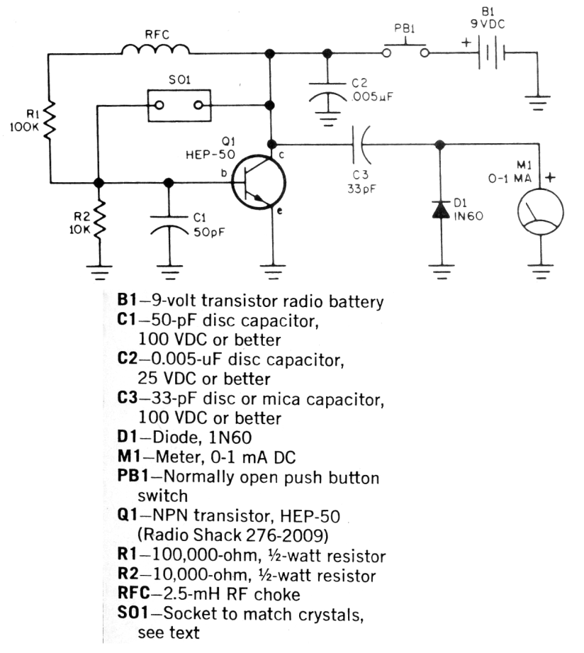
Este circuito se obtuvo en la publicación 101 Electronics Projects de 1979. El circuito se puede montar fácilmente, ya que todos los componentes son comunes. El transistor puede ser el BF494 o 2N2222. Los cristales hasta unos 10 MHz pueden ser probados, con la indicación de la oscilación por el instrumento de bobina móvil. La alimentación se puede realizar con tensiones de 6 a 9 V.




