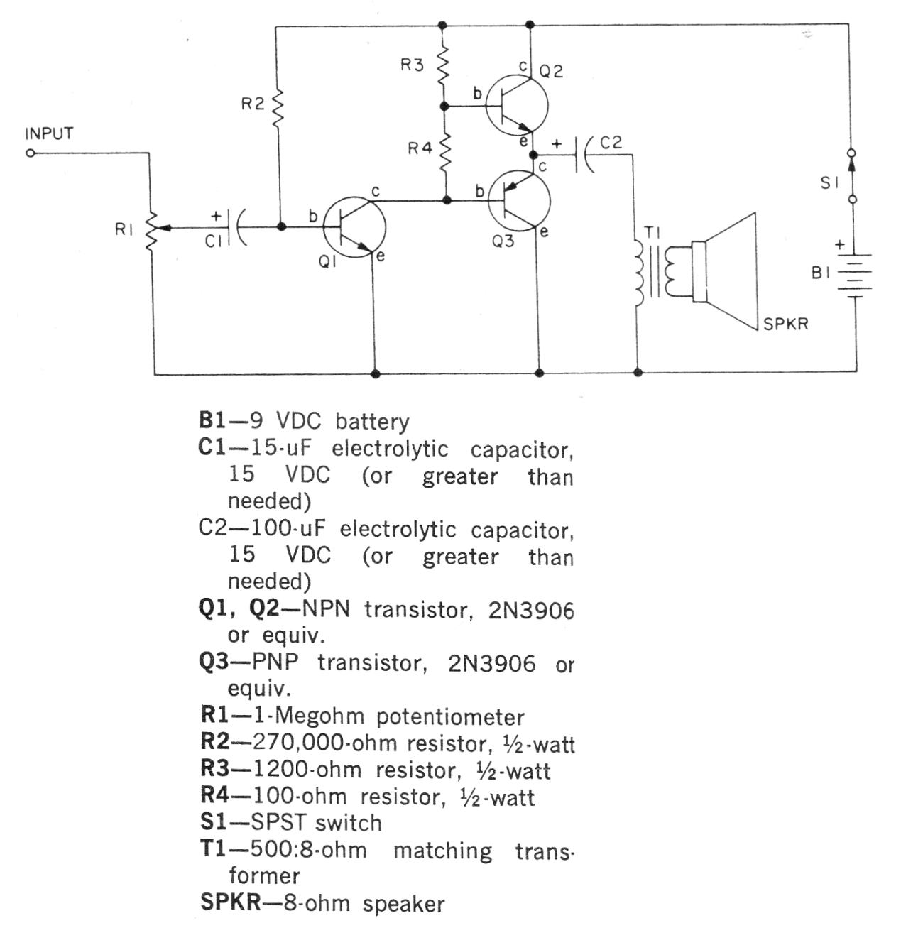
Este circuito se obtuvo en la publicación 101 Electronics Projects de 1979. El circuito se puede montar fácilmente, ya que todos los componentes son comunes. Este circuito proporciona algunos cientos de miliwatts, pudiendo ser usado en intercomunicadores y radios experimentales. Los transistores NPN pueden ser los BC548 y el PNP puede ser el BC558. deseada. La alimentación puede ser hecha con tensiones de 6 a 9 V y el transformador es del tipo de salida encontrado en radios y grabadores transistorizados antiguos.




