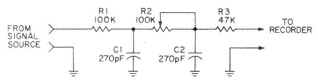
Este circuito se obtuvo en la publicación 101 Electronics Projects de 1979. El circuito se puede montar fácilmente, ya que todos los componentes son comunes. Este circuito pasivo se combina entre tocadiscos y la entrada de los medios de reproducción o grabación a CD, sirviendo para eliminar los ruidos causados por riesgos en los discos de vinilo.




