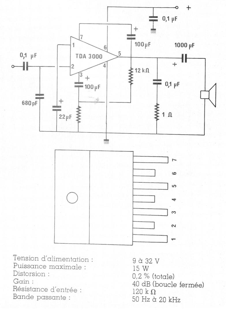
El circuito tradicional fue retirado de una revista francesa Radio Plans que ya no existe, pero puede ser montado desde que se encuentre el CI, que no es muy común. La potencia de salida depende de la tensión de alimentación.

 

Amplificador de 15 W con el TDA3000
Amplificador de 15 W con el TDA3000 | Haga click en la imagen para ampliar |