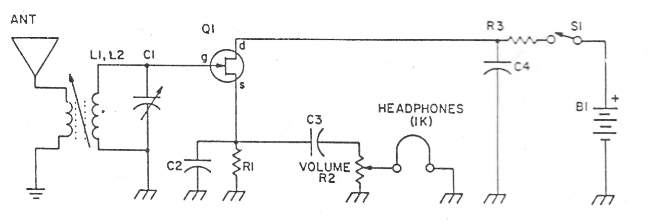
Este circuito es de una publicación americana de 1987 llamada Electronics Handbook. El circuito aún se puede montar fácilmente, ya que todos los componentes son comunes. El transistor puede ser el BF245 (FET). L2 está formada por 100 espiras de hilo 28 en un bastón de ferrita y L2 20 espiras del mismo hilo en el mismo palo. C1 puede ser un capacitor de sintonía de una radio AM común. Los auriculares pueden ser piezoeléctricos o magnéticos.





