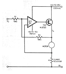
Este circuito es de una revista inglesa de 1977. El circuito es todavía actual, bastando usar un TIP41 o 2N3055 para motores hasta unos 3 A. La velocidad del motor es controlada por la tensión de entrada. La resistencia R3 debe tener valores entre 0,5 y 2 ohms, dependiendo de la corriente del motor.




