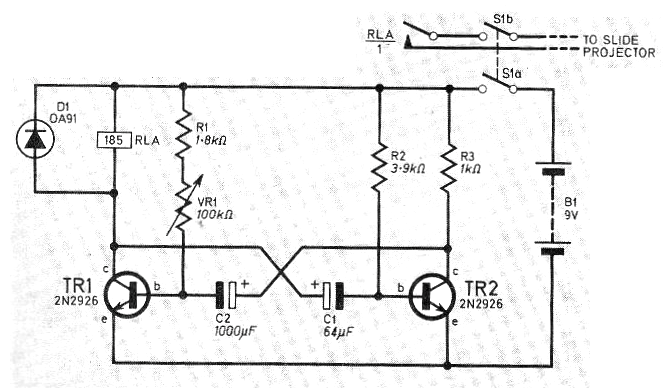
Este circuito encontrado en una revista inglesa de 1974 fue originalmente diseñado para accionar automáticamente un proyector de diapositivas de la época. Hoy se podría utilizar como un automatismo intermitente para varias otras aplicaciones. El montaje es viable, bastando cambiar los transistores originales por los BC548. La tensión de alimentación puede ser de 6 o 12 V según el relé usado. Los relés de 50 a 100 mA son los recomendados.




