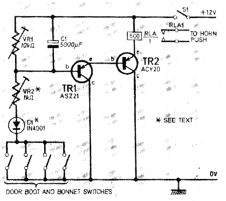
Este parpadeante transistorizado fue encontrado en una revista inglesa que ya no existe de 1975. Los transistores pueden ser los BD136. El ajuste del disparo del relé se realiza en los trimpots. El relé es de 50 a 100 mA con corriente de contacto de acuerdo con la bocina.




