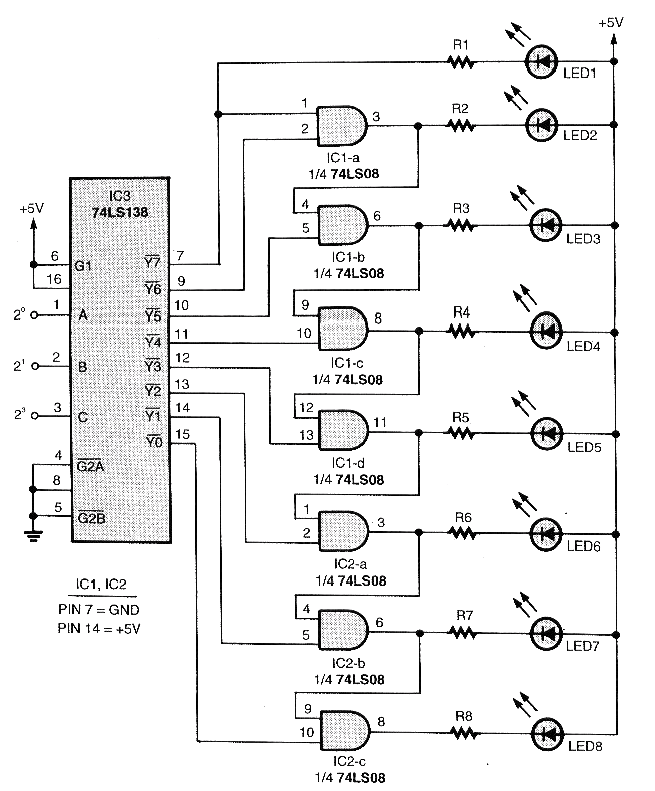
Este interesante circuito de shield fue obtenido en un Poptronics de febrero de 2001. La revista americana ya no existe en su forma impresa, pero este circuito es aún viable, pues utiliza componentes comuns.TTL. La alimentación debe realizarse con 5 V y la entrada es compatible con TTL.




