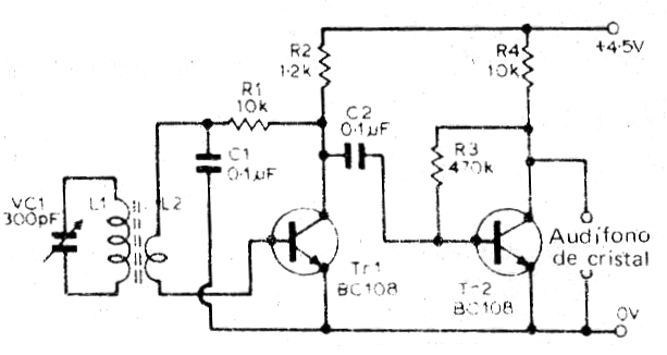
Originalmente, este circuito es de una revista inglesa, pero lo encontré en la Revista Radio Chassis Televisión de Argentina, en una edición de 1978. La bobina L1 está formada por 10 espiras de hilo 28 sobre L2 y L2 consta de 80 a 100 vueltas de hilo 28 en un bastón de ferrita. En la salida tanto podemos conectar un auricular como la entrada de un amplificador. Para las estaciones más débiles utilice una antena. La conexión de la variable en la bobina de la forma indicada resulta en una mejor selectividad. Utilice los BC548 en lugar de los BC108.




