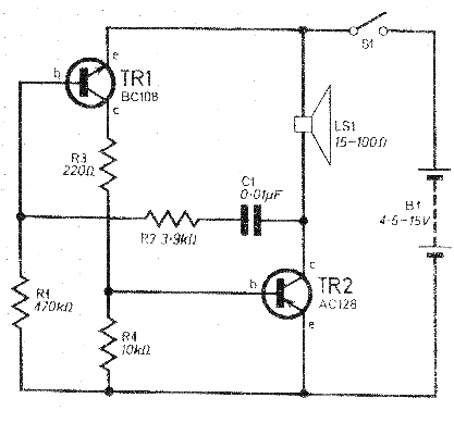
Este circuito fue encontrado en una revista inglesa de 1973. La revista ya no existe, pero el circuito puede ser montado si los transistores se encuentran el AC128 podrá ser sustituido por un BD136 y el BC108 por un BC548. La curiosidad de este circuito es la utilización de transistores de germanio (AC) y silicio (BC) juntos. El tono del sonido producido puede ser cambiado por el cambio de R1.




