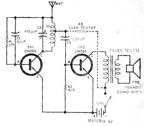
Este circuito fue encontrado en una revista de 1963, pero todavía se puede montar fácilmente con algunos componentes actuales Los transistores pueden ser los BC558 y el transformador se obtiene de una radio transistorizada fuera de uso. La bobina consta de 40 + 40 espiras de hilo 28 en un bastón de ferrita de 12 cm de longitud aproximadamente. La antena tiene de 30 a 50 cm y el alcance es de unos metros en el rango de 550 a 1600 kHz.




