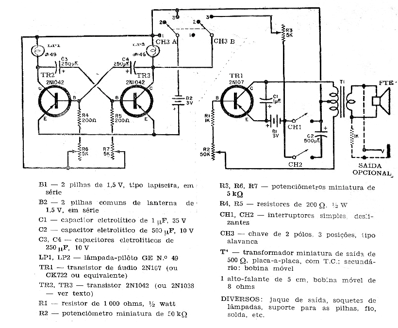
Este circuito, obtenido en una revista de 1965 todavía puede ser montado con la utilización de algunos componentes equivalentes modernos. Los transistores pueden ser los BC558 y el transformador se obtiene de una radio transistorizada fuera de uso.
Muchos equipos de sonido tienen un LED que parpadea al ritmo de la música. Usted puede incorporar un...
Este interesante juego de paciencia es muy simple de montar y puede utilizar componentes...
Al montar este circuito en una matriz de 170 puntos podemos aprender cómo una configuración de oscilador con...