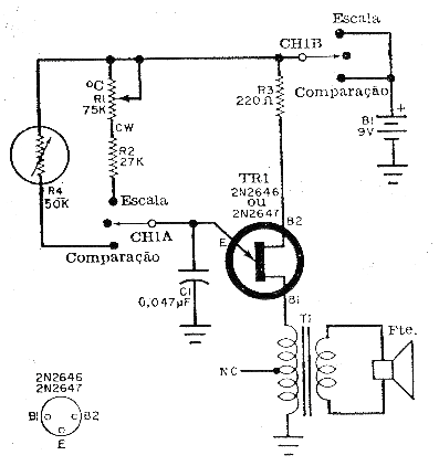
La idea de este circuito de una revista de 1970 es producir un tono que depende de la temperatura del sensor. Este tono puede ser comparado al producido cuando se coloca en el lugar del sensor un potenciómetro calibrado con una escala en Braile. De esta forma, un deficiente visual puede medir temperaturas con facilidad, El transformador con el altavoz puede ser reemplazado directamente por un pequeño altavoz con rendimiento un poco menor.




