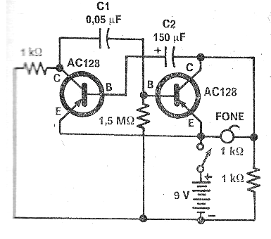
Este circuito de llama de peces fue encontrado en una revista de 1971. El circuito todavía se puede montar con transistores BC558. El auricular debe ser de cristal o una pequeña cápsula piezoeléctrica. La alimentación se puede realizar con tensiones entre 6 y 9 V. El circuito se instala en un cristal con el transductor acoplado a la tapa de modo que el sonido se pueda transferir al agua.




