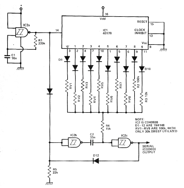
Este circuito se obtuvo en una revista inglesa de 1979, pero puede montarse con facilidad en nuestros días, ya que todos los componentes son comunes. El que hace el circuito es generar pulsos codificados para un sistema de control remoto. El decodificador para este circuito es el CIR9279S.




