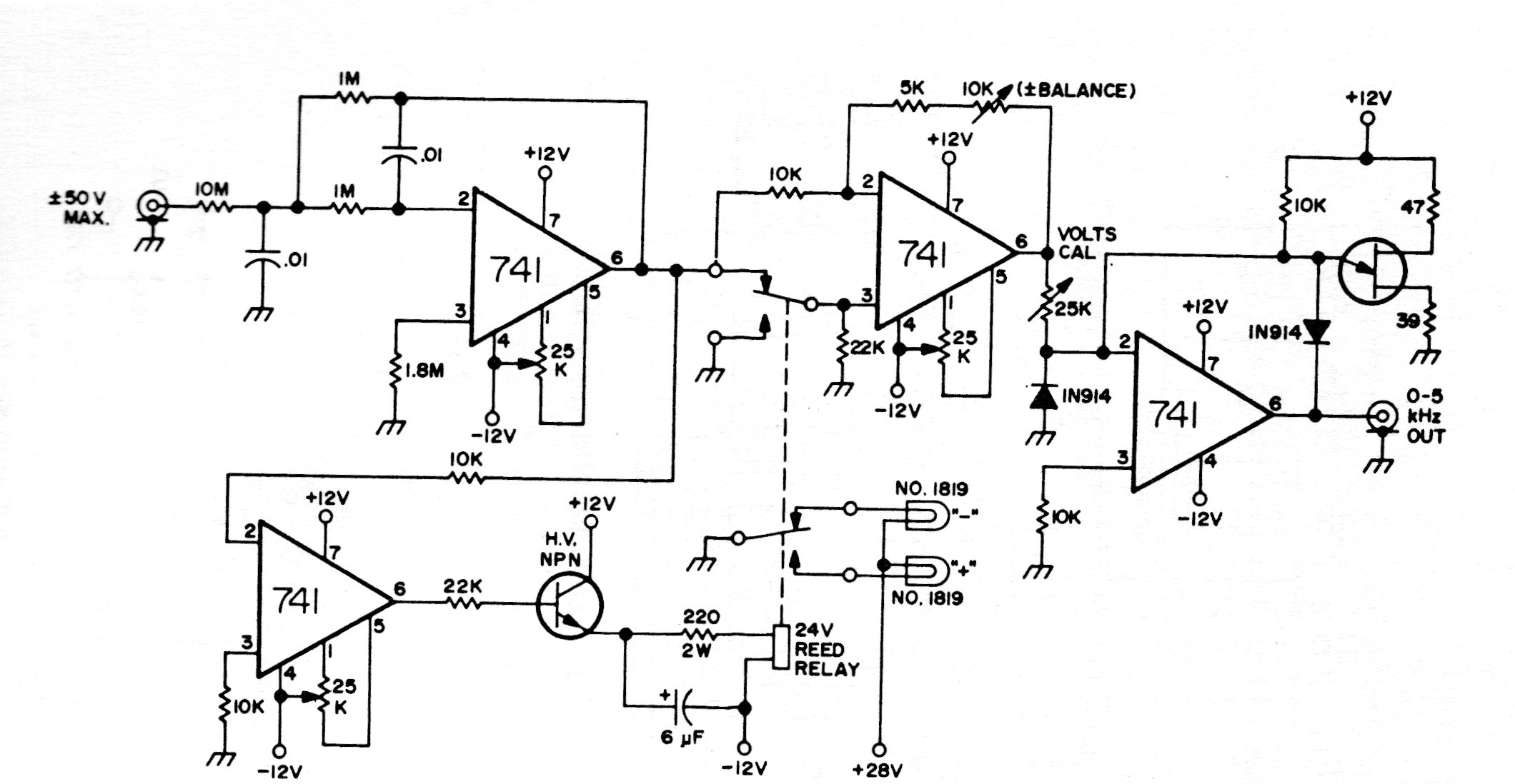
La finalidad de este circuito, que encontramos en una antigua documentación americana es permitir la lectura de frecuencias de audio en un multímetro común. El circuito utiliza componentes que aún son comunes, pudiendo ser montado con facilidad.
Una lámpara neón polarizada cerca del punto de disparo se convierte en un sensible detector de...
Aumente la intensidad del sonido de su bocina piezoeléctrica con el circuito que presentamos. Este oscilador...
El circuito mostrado en la figura 1 proporciona una corriente constante (IL) para dos o más LEDs con...