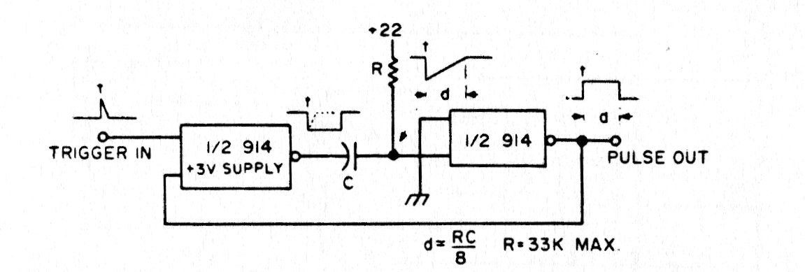
El circuito integrado utilizado en esta aplicación no es común actualmente. El circuito es de una documentación de los años 80. Su propósito es generar un pulso único de duración mayor que el disparo de entrada.
Una lámpara neón polarizada cerca del punto de disparo se convierte en un sensible detector de...
Aumente la intensidad del sonido de su bocina piezoeléctrica con el circuito que presentamos. Este oscilador...
El circuito mostrado en la figura 1 proporciona una corriente constante (IL) para dos o más LEDs con...