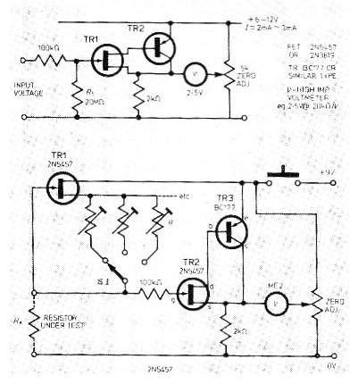
Este circuito fue obtenido en una revista inglesa de 1976, pudiendo ser montado con transistores equivalentes como los BF245 para los FET y BC557 para el PNPO bipolar. En el circuito completo, tenemos varias escalas seleccionadas por una llave.

Este circuito fue obtenido en una revista inglesa de 1976, pudiendo ser montado con transistores equivalentes como los BF245 para los FET y BC557 para el PNPO bipolar. En el circuito completo, tenemos varias escalas seleccionadas por una llave.
