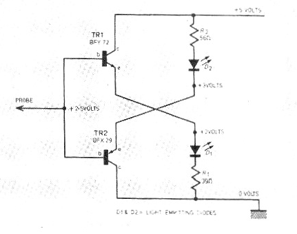
Este circuito fue obtenido en una revista inglesa de 1976, pudiendo ser montado con transistores equivalentes como los BF548 para el NPN y BC558 para el PNP. El circuito es alimentado por 5 V obtenidos del equipo TTL en prueba.

Este circuito fue obtenido en una revista inglesa de 1976, pudiendo ser montado con transistores equivalentes como los BF548 para el NPN y BC558 para el PNP. El circuito es alimentado por 5 V obtenidos del equipo TTL en prueba.
