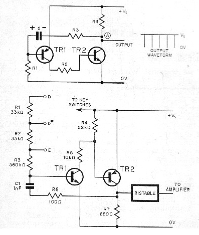
Este circuito fue obtenido en una revista inglesa de 1976, pudiendo ser montado con transistores equivalentes como los BC548 para el NPN y BC558 para el PNP. El circuito puede ser alimentado por tensiones de 3 a 12 V y la frecuencia determinada por C1




