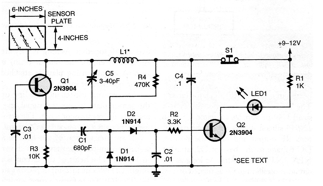
Este circuito se obtuvo en una Poptronics de enero de 2001. Podemos montarlo con facilidad utilizando transistores BC548 en lugar de los originales. L1 consiste en 100 espiras de hilo 26 o 28 en un tubo de cartón o PVC de 1 cm de diámetro.
El circuito de la figura representa una aplicación típica de un fototransistor que excita un relé...
Los sonidos espaciales de tiros de pistolas de rayos láser o similares, que oímos en películas como...
Presentamos una versión TTL del conocido juego. En esta versión, el error del jugador es acusado...