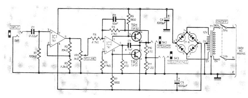
Este circuito fue obtenido en una publicación de 1980, pero puede montarse aún hoy con facilidad, pues todos los componentes son comunes. El transformador es de 12 +12 V con al menos 1 A y los diodos 1N4002.
¿Quieres saber cuál es la posición de una puerta o de un mecanismo remoto? El monitor que...
Cuando aprendemos a tocar algún instrumento musical, cuando hacemos gimnasia o incluso cantamos, es...
Este circuito enciende automáticamente una lámpara cuando se oscurece y se puede usar tanto en la red...