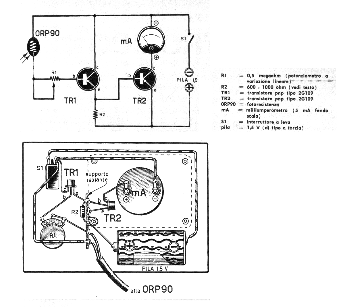
Este simple fotómetro fue encontrado en una revista Técnica Práctica de Italia del año 1965. El proyecto es todavía actual si cambiamos TR1 y TR2 por un BC558 y usamos como sensor cualquier LDR común. El indicador es un miliamperímetro de 0 a 5 mA. En el diseño original no se ha previsto, pero recomendamos conectar en serie con el instrumento un resistor de 47 ohms como limitador de corriente. El circuito funciona con una sola pila.




