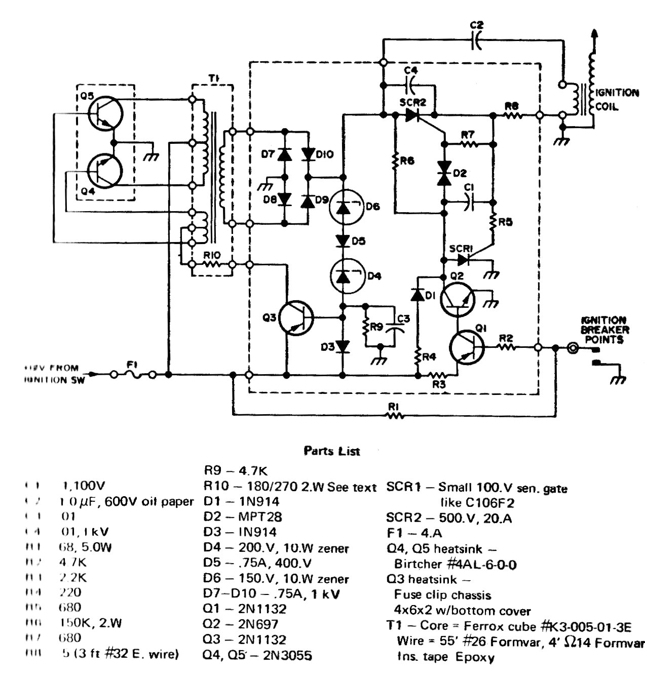
El componente crítico de este circuito de 1975 es el transformador del sector inversor de tensión. Los demás componentes son de la época, pudiendo ser probados equivalentes. El circuito vale más como referencia para un proyecto más moderno.
Este circuito es de una documentación para ingenieros de 1977. El circuito utiliza como sensor un...
Encontrado en Popular Electronics de los años 90, este circuito utiliza componentes comunes en la...
Esta configuración se encontró en una antigua documentación técnica de los años 70, pero se puede...