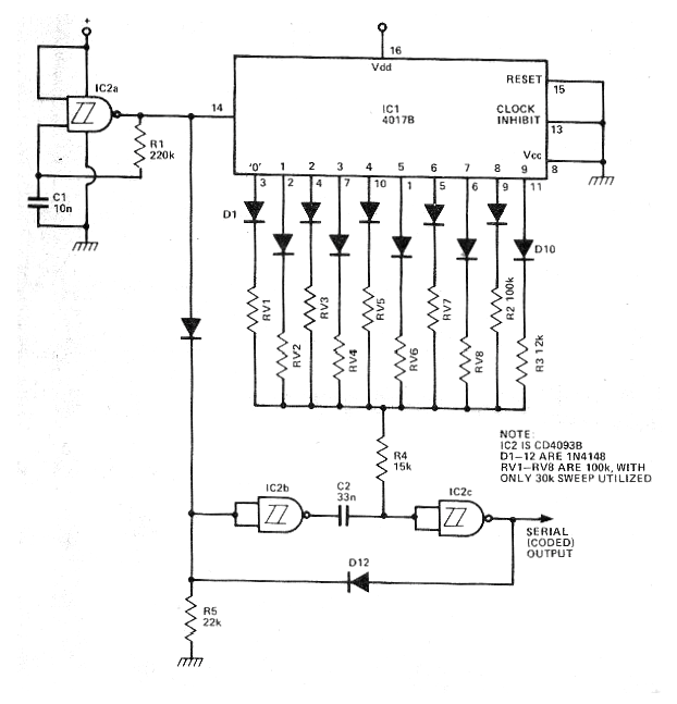
Este circuito salió en una revista Electronics Today International (ETI) de septiembre de 1979. Esta revista ya no existe en su versión impresa, pero el circuito es actual y muy importante para los que les gusta explorar todas las posibilidades del 4017. Lo que éste el circuito hace es generar pulsos con duración a partir de 2 ms para sistemas proporcionales utilizando un oscilador de 500 Hz con el 4093. Las muñecas se aplican al mismo tiempo a un monoestable con tiempo dado por C2 y R4 y el valor de la resistencia del contador con el 4017. Así, el período del circuito puede ser programado por las salidas del 4017, determinando así lo que la señal de salida para el control va a hacer. Tenemos entonces en la salida ciclos posibles de 2 ms a 20 ms conforme el resistor activado. Evidentemente, en serie con cada salida del 4017 debe colocarse una llave de accionamiento.




