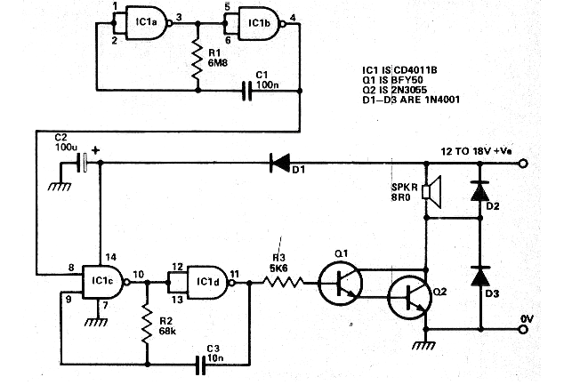
Este circuito salió en una revista Hobby Electronics de marzo de 1980. La revista ya no existe, pero el circuito es actual por los componentes que usa. Este circuito es de una sirena de alta potencia usando un circuito integrado CMOS. El transistor Q1 puede ser sustituido por el BC548. Los diodos también pueden ser los 1N4002 o incluso 1N4004. Los demás componentes son comunes. La alimentación se puede hacer con tensiones de 12 a 18 V y el transistor Q2 debe estar dotado de un buen radiador de calor. Los capacitores C1 y C3 se pueden cambiar para cambiar el efecto sonoro.




