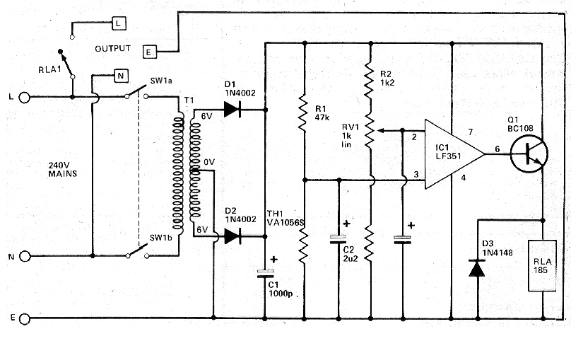
Este circuito salió en una revista Hobby Electronics de marzo de 1980. La revista ya no existe, pero el circuito es actual por los componentes que usa. Este circuito controla un relé accionándolo cuando la temperatura sensorada por el NTC de 47 k supera un determinado valor ajustado en RV1. El transformador es de 6 V x 500 mA el transistor puede ser sustituido por un BC548. El relé es de 6 V x 100 mA, y en el caso, la red es de 240 V, que es la tensión en Inglaterra donde originalmente se publicó la revista. Sólo tienes que utilizar un transformador de 110 V o 220 V de primario para operar en nuestras redes. El IC1 puede ser sustituido por un 741.




