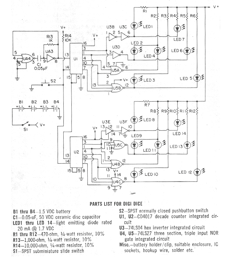
Este circuito salió en un Budget Electronics de 1981, pero todavía es actual, ya que los componentes son comunes incluso en nuestros días. En el original podemos ver que la alimentación se realiza con 6 V, sin embargo los circuitos integrados son TTL. Para evitar problemas de sobrecarga en los integrados, sugerimos conectar en serie con la alimentación un diodo 1N4002 para obtener algo alrededor de 5,4 V para la alimentación lo que está dentro de las tolerancias normales de los circuitos integrados TTL. Los dos conjuntos de LED se montan para tener la disposición de los dados de juegos comunes.




