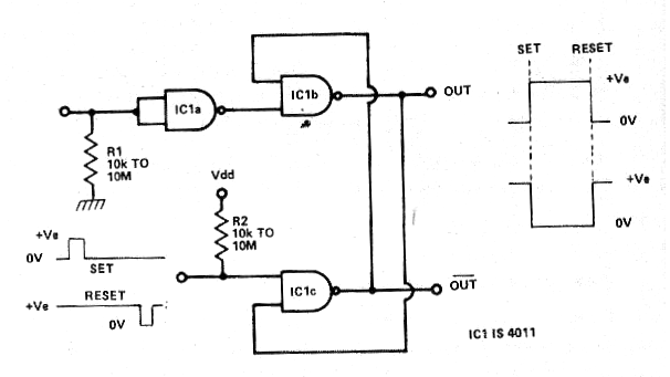
He encontrado este circuito en un artículo de la revista Electronics Today International de julio de 1979. Se trata de una configuración de biestable utilizando dos puertas NOR de un circuito integrado 4011. Vea en la sección de descargas cursos Curso de Electrónica Digital más sobre este tipo de circuito. La señal de set y reset consiste en pulsos, positivo para el SET y negativo para el Reset con la tensión de alimentación producidos externamente como indicado en el diagrama. La alimentación puede realizarse por tensiones de 5 a 15 V. Nunca utilice fuente sin transformador en este tipo de circuito.




