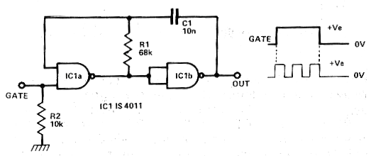
He encontrado este circuito en un artículo de la revista Electronics Today International de julio de 1979. Se trata de una configuración astable utilizando dos puertas de un circuito integrado 4011. En este circuito el disparo es feo pela colocación de la entrada en el nivel alto. En la sección de descargas simuladas también tenemos esta configuración en funcionamiento. Finalmente, en la sección de matemáticas para electrónica tenemos las fórmulas para calcular la frecuencia de este circuito. La alimentación se puede realizar por tensiones de 5 a 15 V.




