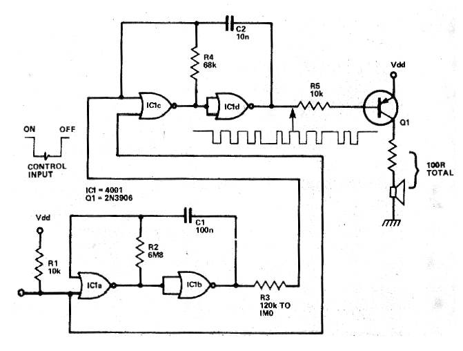
He encontrado este circuito de shield en un artículo de la revista Electronics Today International de julio de 1979. Se trata de una configuración de astable utilizando dos puertas de un circuito integrado 4011 que dispara un oscilador hecho con otras dos tres puertas de circuitos integrados del mismo tipo. El circuito emite un sonido modulado de sirena durante el tiempo en que la entrada permanece en el nivel bajo. El transistor puede ser el BD136 y con este componente, se puede conectar directamente un altavoz de 8 ohms. Para un BC558, se recomienda una salida con impedancia mayor, en el caso, un total de 100 ohms que da el valor del resistor conectado en serie con el altavoz. Vea en la sección de descargas cursos Curso de Electrónica Digital más sobre este tipo de circuito. En la sección de matemáticas para electrónica tenemos las fórmulas para calcular la frecuencia de este circuito. La alimentación se puede realizar por tensiones de 5 a 15 V.




