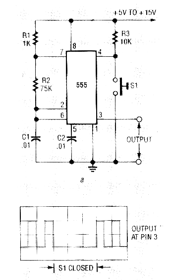
Este circuito, muy conocido de los lectores y bien explorado en nuestro artículo "El Circuito Integrado 555" (ART804S), fue encontrado en una Radio Electronics de octubre de 1992. La revista ya no existe, pero el circuito es actual. Vea más en nuestro ART804S y en la sección de matemáticas como hacer cálculos para los componentes de este circuito. También tenemos su simulación en la sección de circuitos simulados. En este circuito cuando presionamos la llave de arranque el oscilador produce una señal cuya frecuencia es determinada por R1, R2 y C1. S1 puede ser un sensor.




