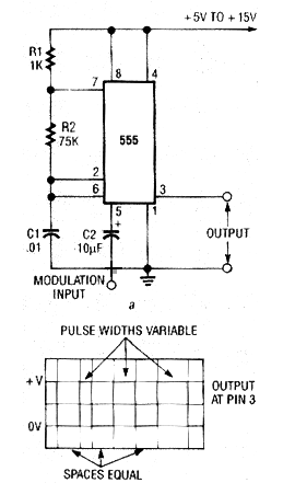
Este circuito, muy conocido de los lectores y bien explorado en nuestro artículo "El Circuito Integrado 555" (ART804S), fue encontrado en una Radio Electronics de octubre de 1992. La revista ya no existe, pero el circuito es actual. Vea más en nuestro ART804 y en la sección de matemáticas como hacer cálculos para los componentes de este circuito. También tenemos su simulación en la sección de circuitos simulados. En este circuito cuando aplicamos una señal en la entrada la frecuencia es modulada, con la variación de la anchura de la muñeca. La frecuencia central está determinada por R1, R2 y C1.




