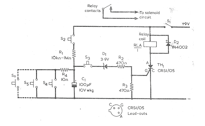
He encontrado este interesante circuito en una Radio & Electronics Constructor de Marzo de 1976. El circuito es actual, bastando usar un TIC106 para el SCR. El relé debe tener una tensión un poco menor que la usada en la alimentación, para compensar la caída de 2 V que ocurre en el SCR. En el caso, para una alimentación de 9 V se puede utilizar un relé de 6 V.




