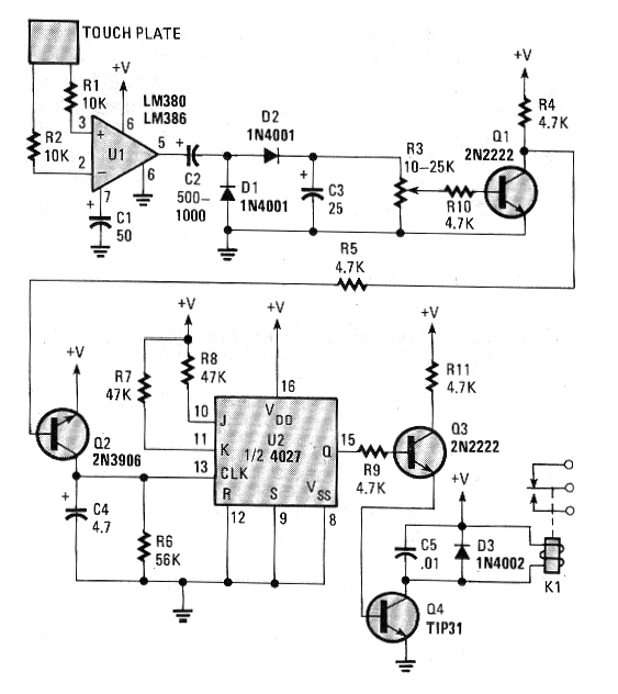
Este circuito fue publicado en una Popular Electronics de febrero de 1991. La revista ya no existe, pero el circuito es actual, ya que todos los componentes se pueden encontrar con facilidad. Se trata de una sofisticada clave de toque biestable que acciona un relé, El circuito puede ser alimentado por tensiones de 6 a 12 V conforme al relé. Nunca alimente este tipo de circuito con fuente sin transformador. Q2 puede ser un BC548.




