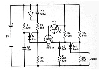
El interesante circuito fue encontrado en una revista que ya no existe. Se trata de una Practical Wireless de mayo de 1980. Si bien los transistores programables unijuntura (PUT) ya no son muy usados, el proyecto es bastante interesante para entender cómo funciona un oscilador de relajación con estos componentes y utilizarlo en una aplicación práctica. Tr3 puede ser cualquier foto-transistor y el PUT puede ser el 2N6027 que todavía se puede encontrar en el mercado especializado. La salida se debe conectar a un amplificador de audio.




