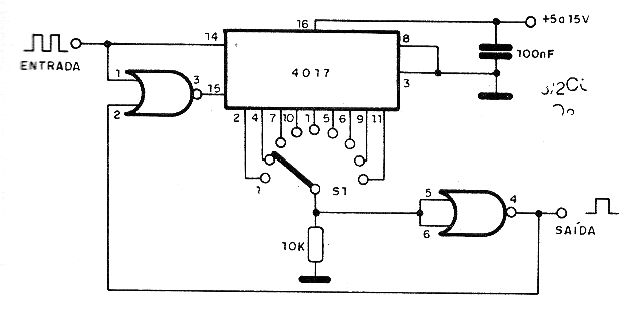
La frecuencia de entrada de este circuito se puede dividir por valores entre 1 y 9, seleccionados por la clave S1. La frecuencia máxima de entrada es de algunos megahercios y la señal debe ser compatible con CMOS. El ciclo activo no es 50% y la tensión de alimentación debe estar entre 5 y 15 V.




