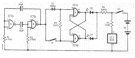
Este circuito se obtuvo en una publicación inglesa de 1976. Sin embargo, los componentes son actuales y el circuito se puede montar fácilmente. A debe ser hecha por batería de 9 V con la reducción por resistor indicada o por tensión directa de 5 V, ya que se trata de circuito TTL.




