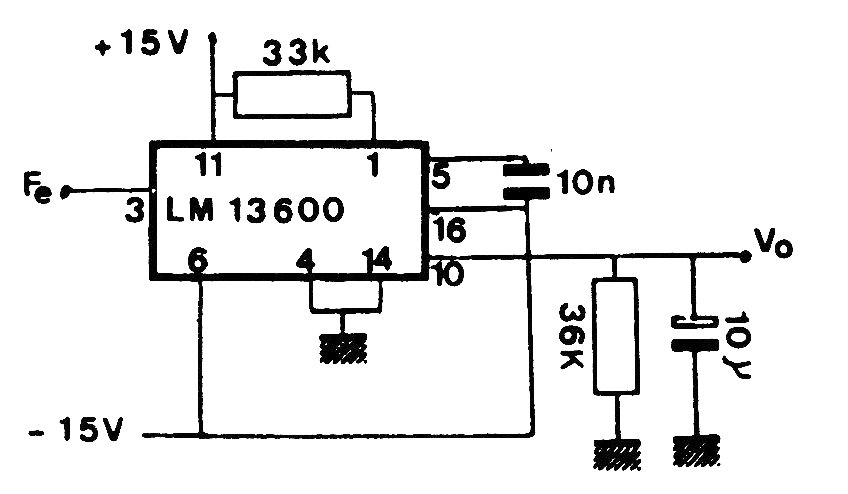
El circuito integrado LM13600 de Motorola no es muy común actualmente. La tensión de entrada es de 10 mV. Encontramos este circuito en una documentación de los años 80. La salida de tensión es proporcional a la frecuencia de los pulsos de entrada.
Un comparador de tensión de precisión, usando diodo zener como referencia puede ser implementado con un...
Este pequeño radio experimental, muy simple, capta bien las estaciones locales de la banda de...
El oscilador rectangular presentado en la figura hace uso de una de las cuatro puertas NAND de un...