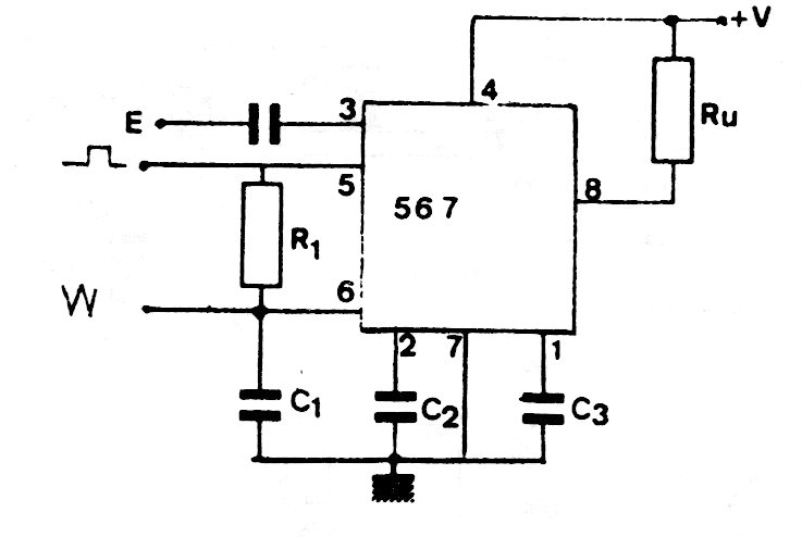
Este circuito con el PLL567 sirve como decodificador para señales moduladas PWM de frecuencias hasta unos 500 kHz. R1 y C1 determinan la frecuencia y C2 y C3 pueden ser de 10 nF a 100 nF según la aplicación. La alimentación debe realizarse con tensiones de 5 a 10 V.




