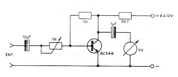
Este VU-meter analógico o Volume Units Meter, medidor de unidades de volumen, emplea un instrumento de bobina móvil que hasta puede ser obtenido de viejos amplificadores de audio. Conectado a la salida del altavoz de un aparato de sonido, indica las variaciones de la intensidad del sonido reproducido. El instrumento puede ser un microamperímetro de 200 uA a 1 mA de fondo de escala y la alimentación puede ser externa, o retirarse del propio aparato con el que va a funcionar.




