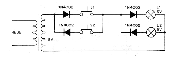
El siguiente circuito muestra cómo se pueden controlar dos pequeñas lámparas de 6 V hasta 500 mA utilizando dos hilos. Los diodos son los 1N4002 para bajas tensiones y el transformador tiene bobinado con tensión mayor que la de las lámparas, pues cada una recibe apenas la mitad de los semiconductores de la corriente alterna en vista de la presencia de los diodos. El mismo circuito funcionará con lámparas de 110 V y utilizando diodos 1N4004 (110 V) o 1N4007 (220 V), con lámparas de hasta 100 W. No deben utilizarse lámparas que no sean incandescentes.




