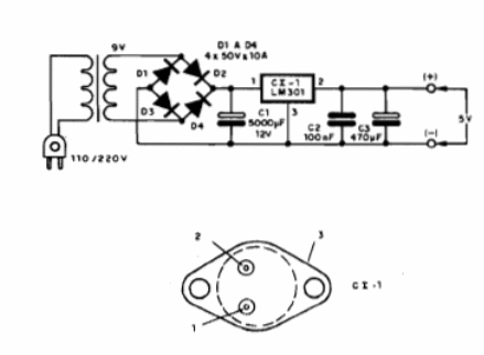
Esta fuente de alimentación, indicada para circuitos TTL proporciona una tensión de 5 V con corriente hasta 5 A. El circuito integrado regulador de tensión positivo debe montarse en un buen radiador de calor. El transformador debe tener corriente de 5 A y los diodos deben ser de tipos capaces de conducir la corriente requerida por los circuitos alimentados. Observe la pinza del LM301, con el terminal de tierra en la carcasa.




