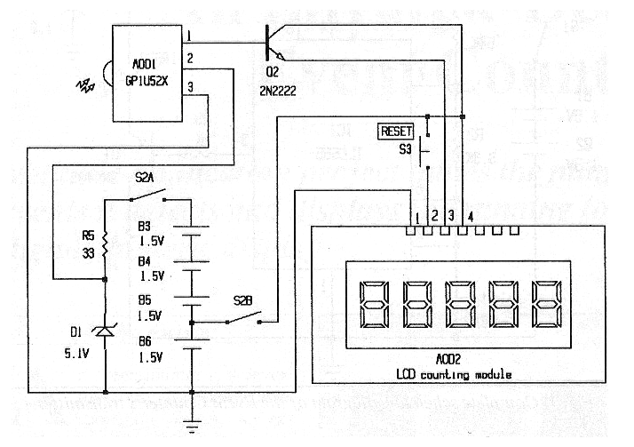
Este circuito salió en una Modern Electronics de junio de 1990. En él tenemos un receptor de pulsos de baja frecuencia por infrarrojo. El transmisor está en el CIR8572S. Los dos componentes críticos del receptor son el módulo receptor y el módulo contador de pulsos del tipo GP1U52X. Este módulo era vendido en la época por Radio Shack, pero según informaciones existen equivalentes. Observe la alimentación adicional de 1,5 V hecha por una derivación del soporte de las 4 pilas. Otros tipos de módulos que tengan control por entrada lógica de 5 V pueden ser usados en la aplicación.




