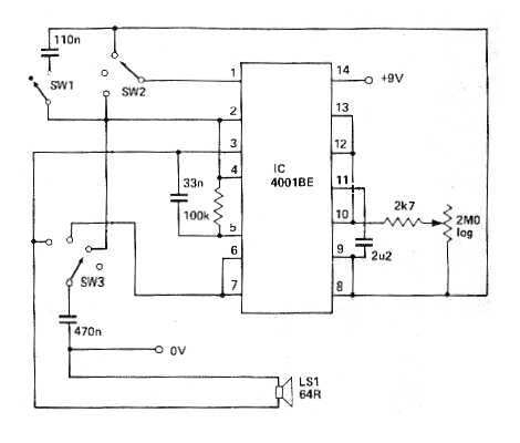
La revista Electronics Today International en la versión impresa ya no existe. Este diagrama salió en el número de diciembre de 1980 y consiste en un generador de sonidos diferentes, que pueden ser ajustados en un potenciómetro de 2,2 M (o 2 M) y seleccionados en una llave de 3 posiciones, además de un interruptor simple. El circuito es alimentado por una tensión de 9 V. En ausencia del altavoz de 64 ohms, utilice una cápsula piezoeléctrica de alta impedancia o un altavoz de 8 ohms en serie con un resistor de 47 ohms. Otra opción consiste en conectar la salida a un paso amplificador, pero en este caso la alimentación debe ser hecha por fuente. El circuito también funcionará con alimentación de 6 V.




