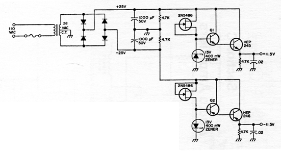
A pesar de ser de una documentación antigua, este circuito es viable actualmente bastando usar transistores equivalentes modernos, como el par TIP31 y 32 para la salida y los BC548 y BC558 como conductores y para los FET los BF245. El transformador es de 1 A.




