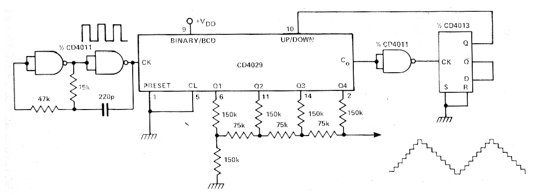
Encontramos este circuito en una publicación inglesa denominada Electronic Circuit Design en el n3 de la primavera de 1980. Este circuito puede generar señales triangulares hasta algunos cientos de kilohertz. La fuente de alimentación debe ser de 5 V a 12 V. Para calcular la frecuencia, vea en la sección de Matemáticas para la electrónica las fórmulas del oscilador de entrada. La forma de onda en la escalera de la señal generada se muestra junto al circuito. Este circuito es muy utilizado en convertidores digitales para analógico. Observe que la salida de señal es de muy alta impedancia.




