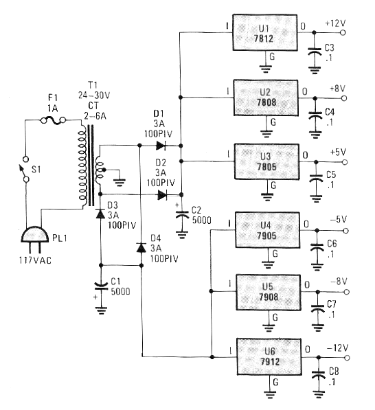
La revista Popular Electronics ya no existe. Este circuito salió en la edición de mayor de 1992 pudiendo ser montado con facilidad por los componentes que utiliza. Esta fuente simétrica proporciona tensiones de 5, 8 y 12 V con corrientes hasta 1 A en cada salida (se puede cambiar el 7808 por un 7806 - suministrando 6 V que es una tensión más común). Los circuitos integrados deben estar dotados de radiadores de calor y C1 y C2 pueden ser de 4700 uF, que es el valor comercial actual.




