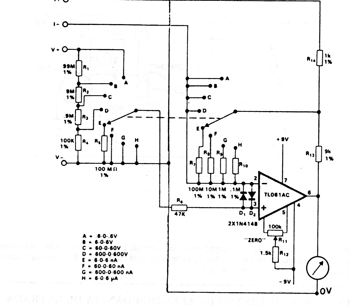
El amplificador operacional utilizado en esta aplicación no es de los más comunes actualmente. El circuito es de una publicación francesa de los años 90. La precisión dependerá de las resistencias de la red resistiva y la impedancia de entrada es de 100 M ohms. El indicador es analógico de 1 mA y se puede utilizar la escala más baja de las corrientes de un multímetro común analógico.




